服务咨询电话

180-1954-5300
180-1954-5300

技术转移

推荐资讯

合肥市
当前位置:首页 > 技术转移 > 合肥市

机器人与智能制造项目推介整理——10、一种可折叠可缩放多功能操作平台

发表于:2019-08-09

作者:FUN88乐天使信息

浏览 118 次

文章导读:为加快 G60 科创走廊高端创新要素整合集聚,促进 G60科创走廊九城市科技成果转移转化和知识产权运营交易,同时为筹备好“G60 科创走廊科技成果拍卖会”,G6...


申请号:  

CN201310088155.0

申请日:

2013.03.19

应用领域:  

用于军事探测平台,轻工业流水线,艺术展示平台。

项目简介:  

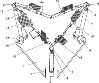
一种可折叠可缩放多功能操作平台,包括机座(1),第一至第三支链电动推杆(3、7、11),三个球铰连接(4) 和(5)、(8)和(9)、(12)和(13),可动的折叠与缩放平台及它们的连接。第一至第三支链电动推杆杆末端与机座分别由转轴连接成转动副并由卡簧轴向固定,首端由球铰与可动平台连接。可伸缩连杆(A1)与(A2),(A3)与(A4)分别由转销连接成转动副,可伸缩连杆(A2) 与(A3),(A4)与(A5)及(A6)与(A1)分别由球轴(9)、(13)、(5)的圆柱端作为转轴连接成转动副,可伸缩连杆(A5)与(A6)由舵机与舵盘配合成转动驱动。

机器人与智能制造项目推介整理——10、一种可折叠可缩放多功能操作平台 

 

 

 

 

 

技术优势:

本发明的有益效果,可动平台由六根可伸缩连杆通过一定的转动副扭角布局安装,使得整个平台不仅仅局限于一个结构件,而是一个集实现平面缩放以及空间折叠于一身的可动平台,这样不仅仅增加了平台的工作空间,且扩展了平台更多功能,功能扩展面板的安装使得平台的每根可伸缩连杆均可以做为一个子平台进行操作,且整个平台的折叠仅需要单个自由度,六个可伸缩连杆分别配备一个驱动使得机构不仅在折叠后空间上可以实现伸缩,也可以在平面三角形时实现任意三角形的变换,整个平台的结构简洁,零件加工简单,组装方便, 可以用于军事探测,轻工业流水线,艺术展示。

  

 

 

(以上资讯来源于网络,如有侵权,请联系管理员删除。)


FUN88乐天使 版权所有 免责声明

地址:安徽省合肥市高新区天元路软件园1号楼210-212室

电话:180-1954-5300 QQ:2501649871

COPYRIGHT © FUN88乐天使·(中国)集团 版权所有 ALL RIGHTS RESERV      网站备案号:皖ICP备2023003016号-1
服务热线

180-1954-5300

安徽省合肥市高新区天元路软件园1号楼210-212室

Top